30S M42x2 K-Verschraubung - schwere Baureihe MMS
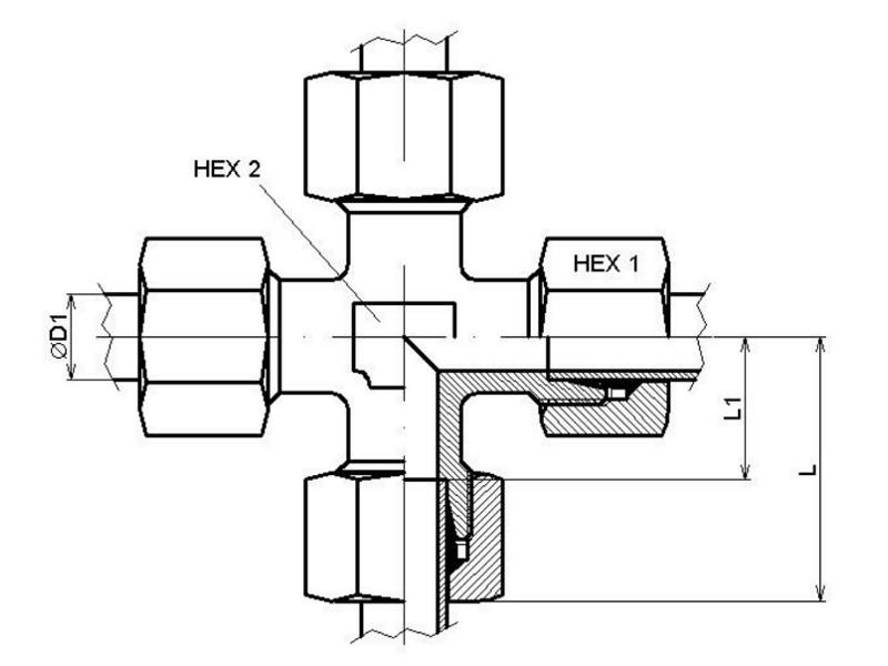
Die K-Verschraubung für RA Ø = 30mm/ 30S entspricht Ausführung DIN 2353.Technische Daten 30S M42x2 K-Verschraubung - schwere Baureihe
| für Rohraußen-Ø [mm] | Gewinde | HEX1 [mm] | HEX2 [mm] | L [mm] | L1 [mm] | Nenndruck [bar] |
| 30 | M 42 x 2 | 50 | 41 | 62,0 | 35,5 | 315 |
Lieferumfang K-Verschraubung 30S M42x2:
Im Lieferumfang sind eine K-Verschraubung für Rohrleitungen mit 30mm Außendurchmesser, 4x Schneidringe und 4x Überwurfmuttern enthalten.Kundenrezensionen:
Schreiben Sie die erste Kundenrezension!
Unsere Kunden haben unseren Onlineshop bei www.kaeufersiegel.de mit 4.89 von 5 Sternen bewertet - basierend auf 656 Bewertungen
Übersicht | Artikel 13 von 20 in dieser Kategorie« Erster | « vorheriger | nächster » | Letzter »

