38S M52x2 K-Verschraubung - schwere Baureihe MMS
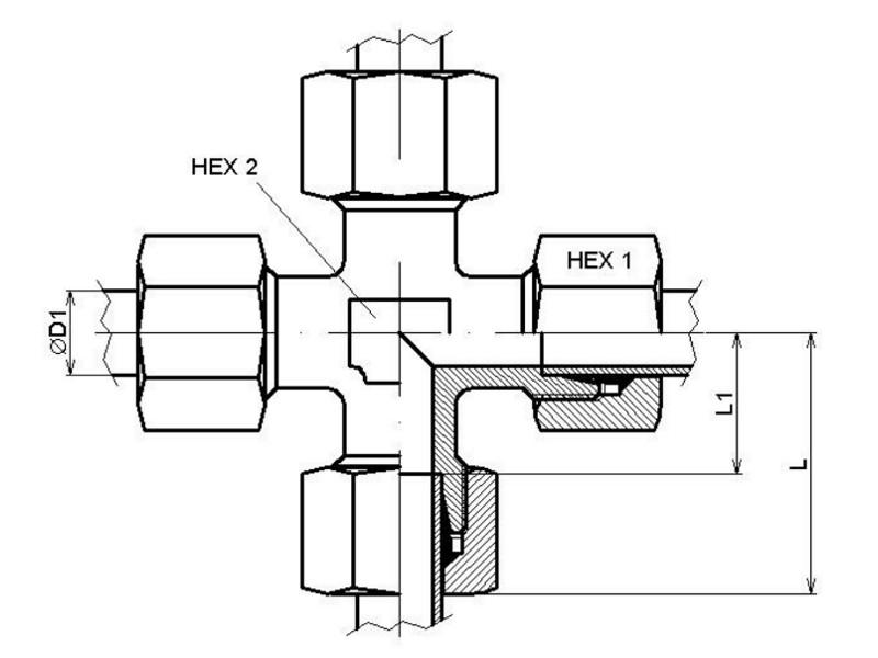
Die K-Verschraubung für RA Ø = 38mm/ 38S entspricht Ausführung DIN 2353.Technische Daten 38S M52x2 K-Verschraubung - schwere Baureihe
| für Rohraußen-Ø [mm] | Gewinde | HEX1 [mm] | HEX2 [mm] | L [mm] | L1 [mm] | Nenndruck [bar] |
| 38 | M 52 x 2 | 60 | 50 | 72,0 | 41,0 | 315 |
Lieferumfang K-Verschraubung 38S M52x2:
Im Lieferumfang sind eine K-Verschraubung für Rohrleitungen mit 38mm Außendurchmesser, 4x Schneidringe und 4x Überwurfmuttern enthalten.Kundenrezensionen:
Schreiben Sie die erste Kundenrezension!
Unsere Kunden haben unseren Onlineshop bei www.kaeufersiegel.de mit 4.89 von 5 Sternen bewertet - basierend auf 656 Bewertungen
Übersicht | Artikel 9 von 16 in dieser Kategorie« Erster | « vorheriger | nächster » | Letzter »

